إن جهاز التصنيف الهوائي الأفقي هذا، أو المصنف الهوائي الأفقي، أو الغربال، أو أداة التصنيف الهوائي، شأنه شأن جهاز التصنيف العمودي، عبارة عن آلية صناعية تقوم بفصل المواد عن بعضها البعض باستخدام الهواء. ويتم تزويده بدفاعة ومحرك تصنيف مركبة بشكل أفقي. وعلى العموم يتركب من جهاز التغذية، ومقوم ذي أرياش، وعضو دوار وغيره.
المواصفات| النموذج | WFJ-260 | WFJ-400 | WFJ-600 | WFJ-800 | WFJ-1000 | WFJ-1500 |
| حجم الطحن (μm) | 2-15 | 2-15 | 2-15 | 2-15 | 2-15 | 2-15 |
| السعة (كلغ ساعة) | 50-200 | 300-1000 | 500-1500 | 1000-3000 | 2000-6000 | 6000-8000 |
| قدرة العضو الدوار (kw) | 3.0 | 5.5 | 7.5 | 11×3 | 15×3 | 15×6 |
| تدفق الهواء (متر مكعب ساعة) | 600 | 2100 | 5000 | 7500 | 9000 | 15000 |
| استهلاك الهواء (متر مكعب دقيقة MPa) | 1.25/0.7 | 1.8/0.7 | 2.5/0.7 | 4.5/0.7 | 6/0.7 | 10/0.7 |
يتم تغذية المواد من الجهة الفوقية للخزان وتُغربل بواسطة الهواء الخارجي. ويتم تفريق وتشتيت الجسيمات ورفعها إلى منطقة التصنيف. ثم تُعرَّض للهواء ولقوة الطرد المركزي المولدة بفعل الانسياب اللزج للهواء. عندما تكون قوة الطرد المركزي المسلطة على الجسيمات أقوى من قوة الجذب المركزي، فالأجسام الخشنة بحجم أكبر من حجم قطر أداء التصنيف ستبقى على جدران الحاوية. ويتم تعديل الهواء الخارجي من قبل ريشة التوجيه وجعله بتدفق دوامي موحد باستطاعته فصل الجسيمات الدقيقة عن الجسيمات الخشنة. ثم بعد ذلك يتم تفريغ هذه الأخيرة من الفتحة السفلية، أما الجسيمات الدقيقة بحجم أقل من قطر أداة التصنيف فستذهب مع تدفق الهواء إلى أداة الفصل الحلزونية (الفارزة) وأداة التجميع. ويتم تفريغ الهواء المنظف عبر مروحة تعديل تدفق الهواء.
يمكن لجهاز التصنيف الهوائي الأفقي هذا، أو المصنف الهوائي الأفقي، أن يتلاءم مع مختلف آلات طحن المسحوق من النوع الجاف، كالمطحنة النفاثة، والمطحنة الكوكبية، والمطحنة الكروية، والمطحنة الاهتزازية وغيرها. إنها تأتي بفعالية تصنيف عالية وحجم توزيع الجسيمات لديها ضيق جدا. أما منتجاتها فتأتي بدقة عالية بحيث حجم الجسيمات الصادرة عنها تكون أقل من 5μm في 97 من الحالات. وفضلا عن كل هذا، فالمصنف الهوائ هذا مصنوع من الفولاذ المقاوم للصدإ مما يضمن له أداء مستقرا وأمد حياة طويل.
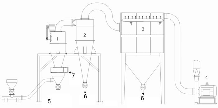
الرسم التخطيطي لجهاز التصنيف الهوائي الأفقي

1. نظام التصنيف الهوائي من النوع التربيني WFJ.
2. أداة فصل حلزونية
3. جامع الغبار
4. مروحة تعديل تدفق الهواء
5. الجسيمات الخشنة
6. المنتجات النهائية
7. الهواء.
إننا نقدم العديد من المنتجات الأخرى، فالرجاء للاستفسار حولها وطلب مزيد من المعلومات بخصوصها الاتصال بنا مباشرة عبر الهاتف أو البريد الإلكتروني. إننا دائما نتطلع إلى التعاون معكم وعقد شراكات مربحة للجانبين.