نظام الطحن والخلط لمصنع تراكيب الأسمدة المغلقة مناسبة لعملية طحن المواد مثل الطلاء، الدهان، حبر الطباعة، كيماويات المزرعة، وغيرها من الصناعات. ويتميز هذا المنتج بسهولة التشغيل والكفاءة العالية. التصميم المبتكر لقرص التشتيت يجعل مواد وسط الطحن تتصادم و تنسحق بشكل مكثف، وبالتالي الحصول على مواد بنقاء مرغوب و بفترة زمنية محددة.
المواصفات| الموديل | MYM15A | MYM20A | MYm30A | MYM48A | MYM60A |
| سعة الخزان ( لتر) | 15 | 20 | 30 | 48 | 60 |
| قدرة المحرك (KW) | 11 | 18. 5 | 22 | 37 | 45 |
| الطاقة الإنتاجية (كجم/ ساعة) | 30-200 | 40-300 | 50-600 | 100-1000 | 150-1200 |
| درجة النقاوة (μm) | 2-20 | ||||
| نوع المضخة | مضخة غشائية، مضخة (تروس) | ||||
نتيجة لإستخدام تقنية الفصل الديناميكي، يمكن فصل الطين الرطب و مواد وسط الطحن بكفاءة عالية. وهذا ما يسمح لمنتجنا بإستخدام وسط الطحن الدقيق جداً(Φ0.5mm-Φ1.4mm)، كما يمكن زيادة أعداد الخرزات هندسياً. جهاز الفصل المصمم خصيصاً يتميز بفترة حياة طويلة ولا يحتاج تقريباً لأي ضمان.
بإعتباره وحدة التشكيل لتكنولوجيا مانع التسرب الميكانيكي لطاحونة الرمل، شركتنا قامت بإنشاء مانع تسرب ميكانيكي بتكنولوجيا متفوقة لنظام الطحن والخلط، وهذا ما سمح له بالحصول على موثوقية عالية و مقاومة ممتازة للتآكل. كما يمكن تجنب التلوث من المواد الأرضية عن طريق إعتماد سائل التبريد المناسب مع المواد الأرضية.
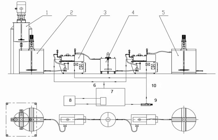
مخطط

1. خزان قبل التشتيت
2. خزان المواد الخام
3. طاحونة الرمل
4. خزان المرشح
5. خزان المواد الجاهزة
6. مخرج المياه المبردة
7. خزان المياه الدائري
8. آلة الثلج
9. المضخة الدائرية
10. مدخل المياه المبردة
شركتنا عبارة عن صانع ومورد صيني مشهور لنظام الطحن والخلط لمصنع تراكيب الأسمدة المعلقة. كما تقدم شركتنا ايضاً طاحونة الرمل الأفقية، مفاعل الستانلس ستيل، الطاحونة النفاثة بالموجات فوق الصوتية، مانع التسرب الميكانيكي المستخدم في المضخات، وغيرها من المنتجات.